产品概述
HEQ系列直行程电动装置具有结构简单、性能可靠、使用简便等特点,适用于小口径、小扭矩多圈旋转阀门。该系列产品分为防爆型与非防爆型。
防爆型阀门电动装置的防爆性能符合:
GB/T3836.1-2021《爆炸性环境第1部分设备通用要求》;
GB/T3836.2-2021《爆炸性环境第2部分由隔爆外壳"d"保护的设备》;
GB/T3836.31-2021《爆炸性环境第31部分由防粉尘点燃外壳"t”保护的设备》;
等标准的有关规定,防爆标志为:Ex db IIC T6Gb、Ex tb IIIC T8O°CDb。
型号规格表示方法(B型)

工作环境
动力电源(任选):
三相:AC380V、AC415V、AC440V;±10% 50/60Hz
单相:AC110V、AC220V;±10% 50/60Hz;
直流:DC24V±10%
重复精度(调节精度)±1%。
死区:0.3%~9.9%可调。
信号丢失位置设定:“保位”、“全关”、“全开”3个任意切换。
产品为户外型,其防护等级为IP67。
,环境温度:(防爆型)-25~50℃,(非防爆型)-25~70℃:环境相对湿度不大于90%(25℃).
海拔高度不大于1000m。
工作环境中不含强腐蚀性介质。
非隔爆型产品不得在有爆炸性混合气体的环境中使用。
工作制:1200次/小时S4-40%。
无强烈振动工况。
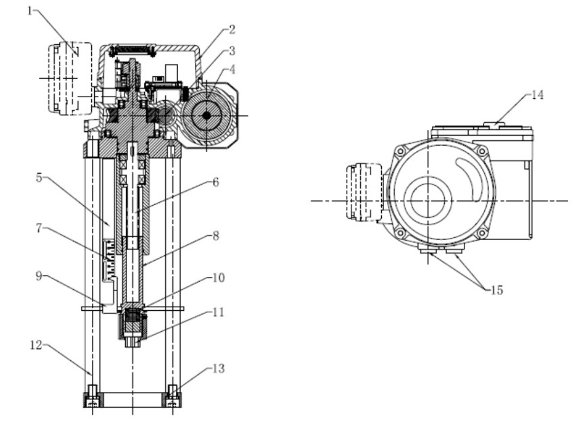
产品结构 (Type B)
(1) 模拟量电气箱 (2) 箱罩 (3) 蜗杆 (4) 电机 (5)刻 度尺板 (6) 行程传动丝杆 (7) 刻度尺 (8) 传动铜螺母 (9) 折弯指针 (10) 蝶簧 (11) 连接套(与阀杆连接) (12) 支撑柱 (13) 支架法兰(与阀门]平台连接) (14) 手动盖 (15) 电缆接头2个 M20*1.5 | ![]() |